Van Bi Một Chiều – Cấu Tạo, Nguyên Lý Hoạt Động Và Ứng Dụng

I. Van bi một chiều là gì?

Van bi một chiều (Check Ball Valve) là loại van công nghiệp đặc biệt cho phép dòng chất lỏng hoặc khí chảy theo một hướng duy nhất và tự động ngăn dòng chảy ngược. Loại van này thường được sử dụng để bảo vệ máy bơm, đường ống và thiết bị khỏi sự cố do dòng chảy ngược gây ra.

Khác với van bi thông thường (có tay gạt hoặc tay quay để đóng/mở thủ công), van bi một chiều vận hành hoàn toàn tự động dựa trên áp suất dòng chảy

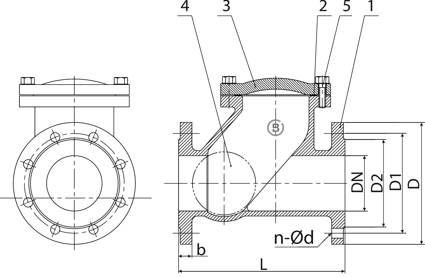
II. Cấu tạo

Ball-check-valve

Với thiết kế khá đơn giản nhưng chắc chắn, thường bao gồm:

  • Thân van (Body): Được chế tạo từ inox, đồng, gang hoặc thép để phù hợp với nhiều môi trường.
  • Bi van (Ball): Hình cầu, là bộ phận chính để đóng/mở dòng chảy.
  • Lò xo (Spring): Giữ bi van ở vị trí đóng khi không có dòng chảy.
  • Gioăng làm kín (Seat/Seal): Đảm bảo độ kín, ngăn rò rỉ chất lỏng.
  • Nắp van (Cap): Giúp cố định và bảo vệ các chi tiết bên trong.

Nhờ cấu tạo nhỏ gọn, Van dễ dàng lắp đặt trong nhiều hệ thống đường ống có không gian hạn chế.

III. Nguyên lý hoạt động

  1. Khi có dòng chảy xuôi: Áp lực chất lỏng đẩy bi van ra khỏi vị trí ngồi (seat) → tạo khoảng trống → dòng chảy đi qua.
  2. Khi có dòng chảy ngược: Bi van được áp suất hoặc lò xo đẩy về vị trí ngồi → bịt kín → ngăn không cho chất lỏng chảy ngược lại.

Lưu ý: Van  hoạt động hoàn toàn tự động, không cần sự can thiệp của con người.

Cau Tao Van Bi 1 Chieu

IV. Ưu điểm

Những ưu điểm nổi bật:

  • Ngăn dòng chảy ngược hiệu quả, bảo vệ máy bơm và thiết bị.
  • Hoạt động tự động, không cần vận hành thủ công.
  • Kích thước nhỏ gọn, dễ lắp đặt ở nhiều vị trí.
  • Đa dạng vật liệu, phù hợp cho nước sạch, dầu, khí, hóa chất.
  • Chi phí hợp lý, tuổi thọ cao nếu bảo trì đúng cách.

Van Bi 1 Chiều 2

V. Ứng dụng

Van  được sử dụng rộng rãi trong nhiều lĩnh vực:

  • Hệ thống cấp thoát nước: Ngăn hiện tượng búa nước, bảo vệ máy bơm.
  • Ngành dầu khí, hóa chất: Vận chuyển chất lỏng hoặc khí ở áp suất cao.
  • Hệ thống PCCC: Đảm bảo dòng nước chảy một chiều từ bơm đến họng cứu hỏa.
  • Ngành công nghiệp thực phẩm, dược phẩm: Sử dụng inox để đảm bảo vệ sinh an toàn.
  • Hệ thống HVAC (điều hòa, thông gió, làm mát): Ngăn sự cố dòng chảy ngược trong ống dẫn.

VI. Lưu ý khi lắp đặt và sử dụng

Để van hoạt động hiệu quả và bền lâu, cần chú ý:

  • Lắp van đúng chiều mũi tên trên thân van để đảm bảo hướng dòng chảy.
  • Tránh lắp ngược hoặc xiên khiến bi van không đóng kín.
  • Thường xuyên kiểm tra gioăng và bi van để kịp thời thay thế khi bị mòn.
  • Lựa chọn vật liệu phù hợp với môi trường sử dụng (nước, dầu, hóa chất).

Van bi một chiều là giải pháp tối ưu để ngăn dòng chảy ngược, bảo vệ hệ thống đường ống và thiết bị công nghiệp. Với cấu tạo đơn giản, nguyên lý hoạt động tự động, độ bền cao và chi phí hợp lý, xứng đáng là lựa chọn hàng đầu trong nhiều ứng dụng thực tế.

Khi lựa chọn, bạn nên cân nhắc vật liệu, kích thước và áp suất làm việc để chọn loại van phù hợp, đảm bảo hệ thống vận hành an toàn và hiệu quả.

VII. Câu hỏi thường gặp

1. Van bi một chiều là gì?

Van bi một chiều (Check Ball Valve) là loại van cho phép chất lỏng hoặc khí chảy theo một hướng duy nhất, ngăn dòng chảy ngược để bảo vệ đường ống và thiết bị.

2. Van bi một chiều hoạt động như thế nào?

Van hoạt động dựa trên áp lực dòng chảy:

  • Khi có dòng chảy xuôi, áp lực đẩy bi van rời khỏi vị trí ngồi → dòng chảy đi qua.
  • Khi có dòng chảy ngược, bi van tự động trở lại vị trí ngồi → ngăn dòng chảy ngược.

3. Van bi một chiều có những loại nào?

Van bi một chiều thường được phân loại theo chất liệukiểu lắp đặt:

  • Theo chất liệu: inox, đồng, gang, thép.
  • Theo kiểu lắp: ren, mặt bích, hàn.

4. Van bi một chiều thường dùng ở đâu?

Ứng dụng phổ biến của van bi một chiều:

  • Hệ thống cấp thoát nước và PCCC.
  • Ngành dầu khí, hóa chất.
  • Hệ thống HVAC (điều hòa, thông gió, làm mát).
  • Công nghiệp thực phẩm, dược phẩm.

5. Khi nào cần thay thế van bi một chiều?

Cần thay thế khi:

  • Van bị rò rỉ do gioăng hỏng.
  • Bi van bị mòn, không đóng kín.

Lò xo mất đàn hồi, không giữ bi van đúng vị trí.

Để lại một bình luận

Email của bạn sẽ không được hiển thị công khai. Các trường bắt buộc được đánh dấu *